1. Ορισμός εξαρτημάτων One Piece, είναι ένα τμήμα συναρμολόγησης το οποίο συγκρατεί το σύνδεσμο σε εύκαμπτο σωλήνα, διότι με αυτόν τον τρόπο είναι πιο αποτελεσματική από δύο κομμάτια (εύκαμπτος σωλήνας και εύκαμπτος σωλήνας τοποθέτησης), το αποκαλούμενο "μονόπλευρο" εξάρτημα. Το άκρο προσαρμογής επιλέγεται επίσης από τις ανάγκες του πελάτη: βύσμα DIN 24 deg κώνου, σύνδεσμος σωλήνα SAE ORFS, σύνδεσμος JIC 37 deg, προσαρμογείς κώνου BSP 60 deg.

Όπως έδειξε η εικόνα: Τοποθέτηση εύκαμπτου σωλήνα BSP 60 deg κώνου, το άκρο του σωλήνα είναι πτυχωτό.
2. Συγκρότημα αντίθεσης μεταξύ εξαρτημάτων εύκαμπτων σωλήνων δύο τεμαχίων και ενός τεμαχίου


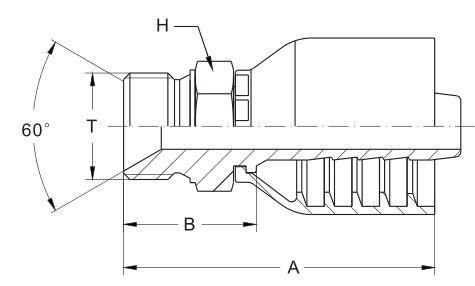
1. Σωλήνας μίας τρύπας BSP 12611A-RW
BSPP ΑΝΔΡΙΚΟ ΔΙΠΛΗΣ ΧΡΗΣΗΣ ΓΙΑ ΣΚΑΛΕΣ 60 ° ΚΑΘΙΣΜΑΤΟΣ Ή ΣΥΓΚΟΛΛΗΜΕΝΗ ΣΦΡΑΓΙΔΑ ISO 8434-6


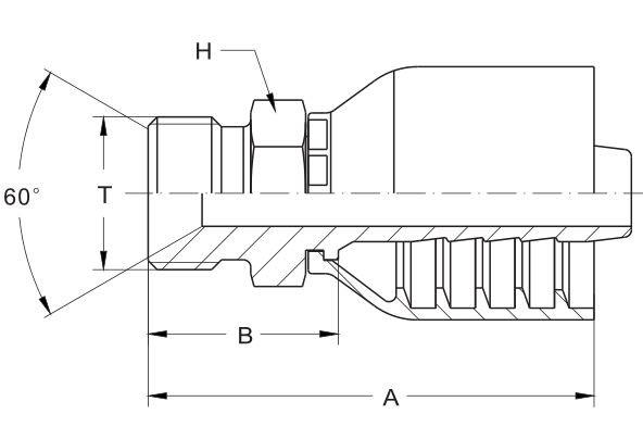
2. Σωλήνας μίας τρύπας BSP 12611-RW
BSPP MALE 60 ° CONE SEAL ISO 8434-6


3. Σωλήνας μίας τρύπας BSP 22611-RW
BSPP ΓΥΝΑΙΚΑ 60 ° CONE ISO 8434-6


4. Εφαρμογή εύκαμπτου εύκαμπτου σωλήνα BSP 22641-RW
45 ° BSPP FEMALE 60 ° CONE ISO 8434-6


5. Εφαρμογή εύκαμπτου σωλήνα BSP 22691-RW
90 ° BSPP ΓΥΝΑΙΚΑ 60 ° CONE ISO 8434-6


Δημοφιλείς Ετικέτες: BSP εξαρτήματα μανίκι ένα κομμάτι, Κίνα, κατασκευαστές, προμηθευτές, έθιμο, ορείχαλκο, swagelok, Parker, Stauff, Brennan, ανοξείδωτο χάλυβα












